Описание
Купить воронку двухуровневую для эксплуатируемой кровли ТП-10.100/6/P-Э с регулируемым трапом, с прижимными фланцами, с обогревом, с вертикальным выпуском Dn110
Применяется на неэксплуатируемых и эксплуатируемых инверсионных кровлях с любыми гидро-, пароизоляционными материалами и теплоизоляцией, с «пирогами» любой толщины и наполнения. Используются для непосредственного монтажа со стальными, чугунными или пластиковыми трубами.
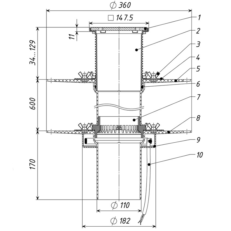
Воронка для эксплуатируемой кровли с регулируемым трапом Dn110 и электроподогревом
- материал корпуса воронки, корпуса трапа и кольца дренажного – полипропилен;
- материал решетки трапа – чугун;
- напряжение/максимальный потребляемый ток – 220÷230 В/0,16 А;
- теплоотдача кабеля, не более – 30 Вт/м;
- длина соединительного кабеля, не менее – 1,5 м (3х1,5 мм);
- наименьший радиус изгиба кабеля – 10 мм;
- максимальная температура поверхности кабеля – +65 °С;
- максимальная температура внутренней поверхности воронки – +55 °С;
- диаметр приемной воронки – 360 мм;
- выходной диаметр – 110 мм;
- условная высота выпускного патрубка – 600 мм;
- пропускная способность, не менее – 8 л/с;
- температура окружающей среды – от -50 °С до +90 °С;
- температура отводящей жидкости, не более – +85 °С;
- масса нетто, не более – 3,05 кг;
- максимальная разрешенная нагрузка, не более – 150 кг;
- срок службы, не менее – 50 лет.
Для заказа товара ТП-10.100-Э Воронка двухуровневая для эксплуатируемой кровли в электрообогревом, позвоните нам по телефону или оставьте свой заказ на сайте
Сопутствующие товары
Аналогичные товары
Ранее просмотренные
