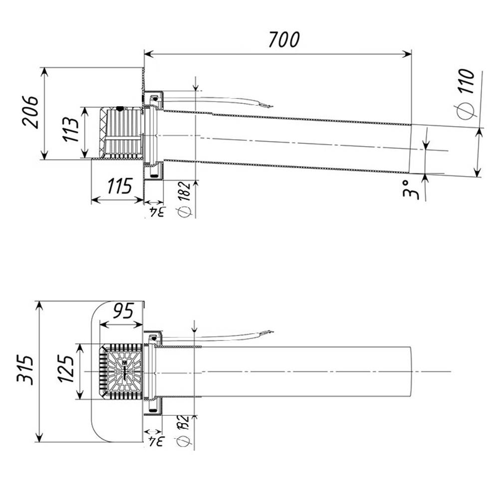
Парапетная воронка с электрообогревом Dn110 с листвоуловителем и патрубком L700мм
Воронка парапетная для плоской кровли с обогревом круглого сечения ТП-68 – воронка для организации внешнего водостока через балконы и парапеты на пониженных участках кровли. Воронка имеет круглое сечение отводящей трубы и изготавливается из морозостойкого полипропилена, который обеспечивает высокую надежность и стойкость к воздействиям внешней среды на кровле. Воронка парапетная круглая поставляется с листвоуловителем. Парапетная воронка татполимер тп-68 используются при строительстве и реконструкции зданий и сооружений. Скапер парапетный применим на плоских кровлях из битумных и полимерно-битумных рулонных материалов с внешним водостоком через балконы и парапеты кровли.
- сырье для корпуса воронки – полипропилен;
- длина отводящей трубы – 700, 1000, 1500 мм;
- Допускается подрезка патрубка до 100 мм;
- диаметр отвода – 110 мм; пропускная способность, не менее – 4.5 л/с *;
- температура окружающей среды – от -50 °С до +90 °С;
- Напряжение/максимальный потребляемый ток 220÷230 В/0,16 А;
- Теплоотдача кабеля 30 Вт/м;
- Длина соединительного кабеля 1,5 м (3х1,5 мм).
- температура отводимой жидкости, не более – +85 °С; масса нетто, не более – 1,5 кг;
- срок службы, не менее – 25 лет.
Область применения угловой парапетной воронки: Воронка служит для отвода дождевой и талой воды с плоских кровель в дождевую канализацию; Для организации внешнего водостока через балконы и парапеты; Воронка для аварийного водостока; Может применяются как для внешнего так и внутреннего водостока; Внимание! Так в наличии парапетная воронка для ПВХ мембраны ТП-01.П.ПВХ
Для заказа товара Воронка парапетная с отводом 65*100 L560, позвоните нам по телефону или оставьте свой заказ на сайте
